Цена: по запросу
Самоходная поводковая (ведомая оператором) электророхля с функцией дополнительного подъема вил профессиональной серии суммарной грузоподъемностью 2000 кг. Может использоваться в качестве комплектовщика заказов для удобного позиционирования поддона с грузом, а также для перевозки двух поддонов с грузом одновременно с массой каждого перевозимого поддона до 1000 кг, либо одного поддона с грузом до 2000 кг.
Стандартная комплектация тележки включает:
Пропорциональная гидравлическая система;
Боковая замена аккумуляторной батареи (кроме компактной версии с уменьшенной АКБ);
Дополнительные кнопки подъема спуска сбоку аккумуляторного отсека (кроме компактной версии);
Решетка для груза;
АС-двигатель хода Schabmuller;
Редуктор Kordel;
Ведущее колесо Wicke;
Контроллер Zapi;
Электромагнитный тормоз Intorq;
Ручка управления Rema с технологией CAN-BUS;
Датчики Pepperl+Fuchs;
Гидравлическая станция VIBO.
Опционально доступно:
Li-ion аккумуляторная батарея.
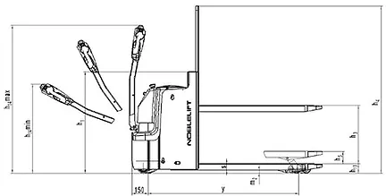
| Основные параметры | 1.2 | Модель | PT 20I | ||
| 1.3 | Тип | Самоходная, ведомая оператором | |||
| 1.4 | Положение оператора | Пеший | |||
| 1.5 | Грузоподъемность | Q (кг) | 2000 | ||
| Грузоподъемность при подъеме груза на вилах | Q (кг) | 10001) | |||
| Грузоподъемность при подъеме груза на опорных вилах | Q (кг) | 20001) | |||
| 1.6 | Центр загрузки | c (мм) | 600 | ||
| 1.8 | Расстояние от центра оси до вил | x (мм) | 916 | ||
| 1.9 | Колесная база | y (мм) | 1386 | 1532 | |
| Массы | 2.1 | Масса (без АКБ) | кг | 656 | 855 |
| 2.2 | Нагрузка на переднюю/заднюю ось с грузом | кг | 765/1891 | 845/2010 | |
| 2.3 | Нагрузка на переднюю/заднюю ось без груза | кг | 476/180 | 612/243 | |
| Колеса, ходовая часть | 3.1 | Тип колес | Полиуретан (PU) | ||
| 3.2 | Размер передних (ведущих) колес | Ø230×70 | |||
| 3.3 | Размер задних колес | Ø80×70 | |||
| 3.4 | Дополнительные колеса | Ø100×40 | |||
| 3.5 | Кол-во колес спереди/сзади (х-ведущие) | 1x+2/4 | |||
| 3.6 | Колея передних колес | b10 (мм) | 510 | ||
| 3.7 | Колея задних колес | b11 (мм) | 380 | ||
| Размеры | 4.2 | Габаритная высота (min) | h1 (мм) | 950 | 855 |
| 4.4 | Высота подъема | h3 (мм) | 550 | ||
| 4.5 | Габаритная высота (max) | h4 (мм) | 1717 | 1558 | |
| 4.9 | Высота ручки (min/max) | h14 (мм) | 820/1335 | ||
| 4.15 | Высота вил в нижнем положении | h13 (мм) | 88 | ||
| 4.19 | Общая длина | l1 (мм) | 1770 | 1940 | |
| 4.20 | Длина до фронта вил | l2 (мм) | 620 | 790 | |
| 4.21 | Общая ширина | b1 (мм) | 729 | ||
| 4.22 | Размеры вил | s/e/l (мм) | 60/180/1150 | ||
| 4.25 | Ширина вил | b5 (мм) | 560 | ||
| 4.32 | Клиренс в центре базы | m2 (мм) | 28 | ||
| 4.34 | Ширина прохода с паллетой 800×1200 | Ast (мм) | 2020 | 2190 | |
| 4.35 | Радиус разворота | Wa (мм) | 1536 | 1682 | |
| Характеристики | 5.1 | Скорость движения (с грузом/ без груза) | км/ч | 6,0/ 6,0 | |
| 5.2 | Скорость подъема (с грузом/ без груза) | мм/с | 95/150 | 85/140 | |
| 5.3 | Скорость движения вил вниз (с грузом/ без груза) | мм/с | 90/70 | 80/65 | |
| 5.8 | Преодолимый уклон max (с грузом/ без груза) | % | 8/20 | ||
| 5.10 | Тормозная система | Электромагнитный тормоз | |||
| Параметры электрической системы | 6.1 | Мощность двигателя хода | кВт | 1,3 | 1,3 |
| 6.2 | Мощность двигателя подъема | кВт | 1,2 | 2,2 | |
| 6.3 | Стандарт АКБ | 2VBS | 3VBS | ||
| 6.4 | Напряжение питания, номинальная емкость АКБ | В/ А∙ч | 24/160 | 24/ 210 | |
| 6.5 | Масса АКБ | кг | 150 | 185 | |
| 6.6 | Потребление энергии в соотв. с циклом VDI | кВт∙ч/ч | 1,0 | ||
| Другое | 8.1 | Тип управления ходом | AC | ||
| 8.4 | Уровень шума | дБ(A) | <70 | ||
1) При оперировании грузами в 2 яруса: грузоподъемность вил 1000 кг, грузоподъемность опорных вил 1000 кг. Данные согласно VDI 2198. Производитель оставляет право вносить изменения в конструкцию электророхли.
Самоходная тележка PT 20I предназначена для транспортировки грузов внутри складских и производственных помещений, а также на территориях с ограниченным пространством. Она оснащена электроприводом и способна перемещать груз весом до 2000кг. Поводковая тележка отличается компактными размерами, маневренностью и простотой в управлении. Эргономичная рукоятка и система безопасности делают работу с тележкой комфортной и безопасной для оператора.
Быстрая доставка
Большие складские запасы позволяют нам осуществлять доставку на следующий день после заказа
Регулярные скидки
Каждый месяц мы запускаем новую акцию на определённые группы товаров. Подробности у менеджеров
Все запчасти в наличии
Мы обладаем пожалуй самым большим складом запчастей. А благодаря электронным каталогам осуществляем точный подбор
Гарантия до 3-х лет
При своевременном сервисном обслуживании и заключенном договоре на ТО